Systemet du linker til har ingen bypass-ventil, og har et dårligere reguleringsprinsipp enn anlegget i denne tråden. Blandeventilen som er benyttet over sirkulasjonspumpen er en helt vanlig reguleringsløsning for radiatoranlegg. Dette er nok gjort med hensikt pga sentralvarmeanlegget kjører med turtemp på 60 grader. Gulvvarmeanlegget blir så regulert ned til 35 grader med blandeventilen, slik at gulvvarmekursene ikke får for høy temperatur.
Gitt at det lenkede systemet har to sirkpumper slik det forutsetter (noe som var nytt for meg), så ser jeg ikke at det systemet regulerer noe dårligere enn en shunt med 3-veisventil. Fordelen med en 3-veisventil er at en i et enklere system kan spare en sirkpumpe.
At en her "regulerer ned til 35 grader med en blandeventil" er for meg uklart. Hvordan skjer denne reguleringen i en ventil uten termostatstyring og med ukjent returtemperatur? Jeg forutsetter da at "blandeventilen" er innretningen mellom termostat og den viste sirkpumpa.
En treveis-ventil kunne man benyttet, men man behøver antagelig forsatt to sirkulasjonspumper for å opprettholde tilstrekkelig sirkulasjon i gulvvarmekursene. En treveis-ventil vil ikke endre reguleringsprinsippet noe særlig i forhold til blandeventilen som er benyttet. Sirkulasjonspumpen i det eksisterende anlegget er antagelig ikke dimensjonert for særlig utvidelse av anlegget, derfor er det montert en ekstra sirkulasjonspumpe for gulvvarmeanlegget.
Jeg forklarte over hvordan reguleringen fungerer. Termostatventilen har et kapilarrør som er montert mot tur-samlestokken. Når temperaturen på tur-samlestokken er 35 grader vil termostatventilen strupe igjen. Blandeventilen åpner og slipper gjennom retur vann fra retur-samlestokk. Når temperaturen på tur samlestokken synker, vil termostatventilen åpne, og blandeventilen vil slippe inn 60 grader vann som blandes i blandeventilen sammen med retur vann.
eydybdal og KjellG : Synes dere er temmelig bastante med uttalelser i forbindelse med vbv.......Uten at kompetansen er på plass....... Tydeligvis ingen erfaring med vbv i virkeligheten??? eydybdal ; du har tidligere uttalt deg om vbv uten å forstå hvor elkassett er!!
TS: mulig du bør få en rørlegger å ta en titt!;)
Signatur
"Den viktigste livsvisdom må vi oppdage med våre egne øyne" (Nansen)
Tekniker med verktøy.......Festool, Makita, Paslode (gassverktøy med lav vekt), Millvaukee ....og litt til
eydybdal og KjellG : Synes dere er temmelig bastante med uttalelser i forbindelse med vbv.......Uten at kompetansen er på plass....... Tydeligvis ingen erfaring med vbv i virkeligheten???
Jeg er ingen rørlegger, men i et yrke som elektriker er det et tett samarbeid mellom rørlegger og elektriker for prosjektering, oppbygging, og idriftsetting av slike systemer. Samarbeidet og feilsøkingen blir desto større når det står et SD-anlegg, eller automatiseringsanlegg på toppen som skal styre hele varmeanlegget. Erfaringer utveksles daglig.
eydybdal ; du har tidligere uttalt deg om vbv uten å forstå hvor elkassett er!!
Etter hva jeg husker fra tråden du refererer til så tolket jeg "el-kassetten" som akkumulatortank for anlegget, av den grunn at tilkoblingene og temperaturinnstillingen var plassert bak en reol/hylle, som ble et forstyrrende element. Selv den beste kan overse små detaljer.
At en her "regulerer ned til 35 grader med en blandeventil" er for meg uklart. Hvordan skjer denne reguleringen i en ventil uten termostatstyring og med ukjent returtemperatur? Jeg forutsetter da at "blandeventilen" er innretningen mellom termostat og den viste sirkpumpa.
Snittskisse som tilsvarer blandeventilen som er benyttet: Hovedsirkulasjonen for varmetilførselen ligger i rørstussene på toppen. Blandeventilen som er benyttet her har tilførsel på venstre stuss. Jeg vil anta å tro at blandeventilen som er benyttet i systemet til TS har tilførsel på høyre stuss, noe som er vanskelig å si uten å vite eksakt hvilken modell som er benyttet. Jeg antar varmetilførsel er på høyre stuss, ut i fra hvordan disse blandeventilene prinsipielt fungerer, samt at stuss for sekundærsirkulajon (mot sirkulasjonspumpe) er plassert på høyre side.
Sekundærsirkulasjonen (gulvvarmesystemet) sirkulerer mellom stuss på venstre side, og nedre stuss. I systemet til TS er det plassert en termostatventil på hovedsirkulasjonen som tilfører varmt vann. Kapilarføleren er plassert på rørstussen under sirkulasjonspumpen, som blir tur-samlestokk. Når temperaturen på tur-samlestokk synker, åpnes termostatventilen, som øker hovedsirkulasjonen inn på blandeventilen. Skal vi forholde oss til riktige definisjoner, så heter "blandeventilen" egentlig et fordelerhus. Når hovedsirkulasjonen strupes av termostatventilen (pga oppnådd temperaturnivå på tur-samlestokk) vil fordelerhuset sørge for sekundærsirkulasjon mellom tur- og retur-samlestokk, ved hjelp av ventilmekanisme mellom venstre og nedre stuss i fordelingskammeret. Sirkulasjonsmengden i hovedsirkulasjonen kan justeres til en viss grad via justeringsmuligheten på høyre side.
eydybdal og KjellG : Synes dere er temmelig bastante med uttalelser i forbindelse med vbv.......Uten at kompetansen er på plass....... Tydeligvis ingen erfaring med vbv i virkeligheten??? eydybdal ; du har tidligere uttalt deg om vbv uten å forstå hvor elkassett er!!
TS: mulig du bør få en rørlegger å ta en titt!;)
Min bakgrunn fremgår av signaturen, amatør - på alle livets områder.
Som kjent hevdes det at påståeligheten er omvendt proporsjonal med kunnskapsnivået, så også for mitt vedkommende.
Siden finnmark4ever etterlyser mer kunnskapsrike bidrag. Dersom en ser bort fra de glade amatører KjellG og eydybdal, så har TS til nå ikke fått noen respons fra mer kompetent hold. Egentlig ingen respons overhode.
Jeg ser gjerne at mer kunnskapsrike forumdeltakere fremmer bedre kunnskap, da kan jeg lære! Har finnmark4ever noen forslag til hvordan å få dem på banen? Vil det hjelpe om jeg stenger av?
Siste redigering: Saturday, November 21, 2015 10:43:35 AM av KjellG
At en her "regulerer ned til 35 grader med en blandeventil" er for meg uklart. Hvordan skjer denne reguleringen i en ventil uten termostatstyring og med ukjent returtemperatur? Jeg forutsetter da at "blandeventilen" er innretningen mellom termostat og den viste sirkpumpa.
Jeg forklarte over hvordan reguleringen fungerer. Termostatventilen har et kapilarrør som er montert mot tur-samlestokken. Når temperaturen på tur-samlestokken er 35 grader vil termostatventilen strupe igjen. Blandeventilen åpner og slipper gjennom retur vann fra retur-samlestokk. Når temperaturen på tur samlestokken synker, vil termostatventilen åpne, og blandeventilen vil slippe inn 60 grader vann som blandes i blandeventilen sammen med retur vann.
Synes dere er temmelig bastante med uttalelser i forbindelse med vbv.......Uten at kompetansen er på plass.......
Tydeligvis ingen erfaring med vbv i virkeligheten???
eydybdal ; du har tidligere uttalt deg om vbv uten å forstå hvor elkassett er!!
TS: mulig du bør få en rørlegger å ta en titt!;)
Tekniker med verktøy.......Festool, Makita, Paslode
(gassverktøy med lav vekt), Millvaukee ....og litt til
Jeg er ingen rørlegger, men i et yrke som elektriker er det et tett samarbeid mellom rørlegger og elektriker for prosjektering, oppbygging, og idriftsetting av slike systemer. Samarbeidet og feilsøkingen blir desto større når det står et SD-anlegg, eller automatiseringsanlegg på toppen som skal styre hele varmeanlegget. Erfaringer utveksles daglig.
Etter hva jeg husker fra tråden du refererer til så tolket jeg "el-kassetten" som akkumulatortank for anlegget, av den grunn at tilkoblingene og temperaturinnstillingen var plassert bak en reol/hylle, som ble et forstyrrende element. Selv den beste kan overse små detaljer.
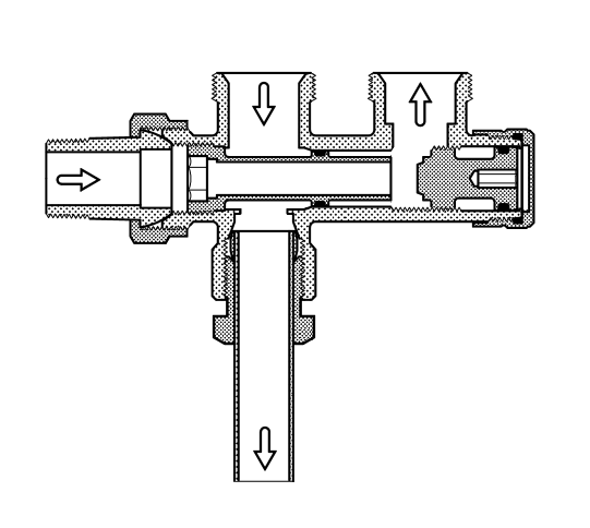
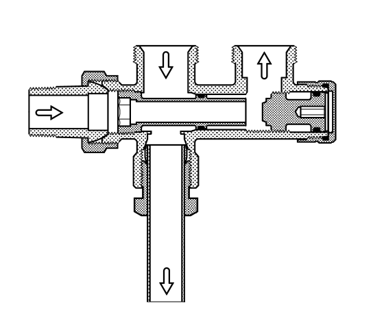
Snittskisse som tilsvarer blandeventilen som er benyttet:
Hovedsirkulasjonen for varmetilførselen ligger i rørstussene på toppen. Blandeventilen som er benyttet her har tilførsel på venstre stuss. Jeg vil anta å tro at blandeventilen som er benyttet i systemet til TS har tilførsel på høyre stuss, noe som er vanskelig å si uten å vite eksakt hvilken modell som er benyttet. Jeg antar varmetilførsel er på høyre stuss, ut i fra hvordan disse blandeventilene prinsipielt fungerer, samt at stuss for sekundærsirkulajon (mot sirkulasjonspumpe) er plassert på høyre side.
Sekundærsirkulasjonen (gulvvarmesystemet) sirkulerer mellom stuss på venstre side, og nedre stuss. I systemet til TS er det plassert en termostatventil på hovedsirkulasjonen som tilfører varmt vann. Kapilarføleren er plassert på rørstussen under sirkulasjonspumpen, som blir tur-samlestokk. Når temperaturen på tur-samlestokk synker, åpnes termostatventilen, som øker hovedsirkulasjonen inn på blandeventilen. Skal vi forholde oss til riktige definisjoner, så heter "blandeventilen" egentlig et fordelerhus. Når hovedsirkulasjonen strupes av termostatventilen (pga oppnådd temperaturnivå på tur-samlestokk) vil fordelerhuset sørge for sekundærsirkulasjon mellom tur- og retur-samlestokk, ved hjelp av ventilmekanisme mellom venstre og nedre stuss i fordelingskammeret. Sirkulasjonsmengden i hovedsirkulasjonen kan justeres til en viss grad via justeringsmuligheten på høyre side.
Min bakgrunn fremgår av signaturen, amatør - på alle livets områder.
Som kjent hevdes det at påståeligheten er omvendt proporsjonal med kunnskapsnivået, så også for mitt vedkommende.
Siden finnmark4ever etterlyser mer kunnskapsrike bidrag. Dersom en ser bort fra de glade amatører KjellG og eydybdal, så har TS til nå ikke fått noen respons fra mer kompetent hold. Egentlig ingen respons overhode.
Jeg ser gjerne at mer kunnskapsrike forumdeltakere fremmer bedre kunnskap, da kan jeg lære! Har finnmark4ever noen forslag til hvordan å få dem på banen? Vil det hjelpe om jeg stenger av?